中国网汽车1月2日讯(记者 胡爱善)用于大型设备租赁业务的to B端融资租赁服务正被快速复制到二手车电商交易市场,复杂的金融模式对于普通购车人是一道难题,并引发众多纠纷。近期有不少优信二手车电商用户反映,以为是贷款买车却变成融资租赁,最后导致重大财产损失。
艾瑞二手车报告指出,二手车行业属于相对粗放型产业,行业缺乏监管导致车商鱼龙混杂。二手车在线平台也多与线下庞大且分散的二手车商进行合作。部分不良二手车商利用欺诈手段应对购车者,再与线上平台进行合作,提供融资租赁服务。消费者在巨大的信息不对称情形下,容易利益受损。

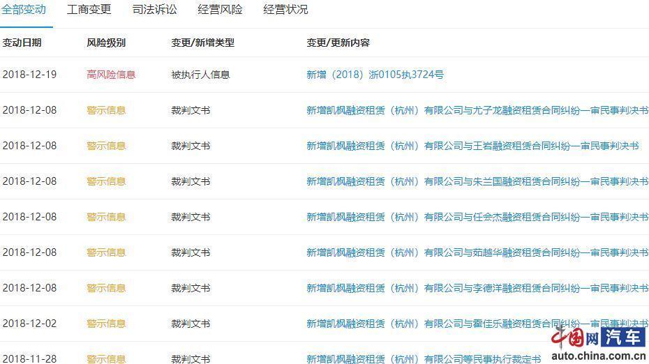
中国网汽车通过企查查发现,凯枫融资涉及多起合同融资纠纷,获胜方大部分是优信下面的凯枫融资。凯枫融资的法人代表为曾真,他也是优信二手车的首席财务官。优信与用户签订的融资租赁合同中,其第一受益人都是凯枫融资公司。
消费者面对这样纠纷,如果走法律渠道,法院往往会判二手车公司获胜,这也是优信面对消费者维权时表现强硬的底气所在。天驰君泰律师事务所郑彩虹律师对中国网汽车表示,“消费者作为成年人签订合同时应该明白这其中要承担的法律责任,所以签合同时必须要看清合约内容。消费者要想获胜,除非能掌握优信二手车工作人员有明显的误导欺诈证据。”
中国裁判文书网一则判决披露了二手车电商融资租赁的玩法和套路,这也是为数不多优信败诉的案例。
在这份《凯枫融资租赁(杭州)有限公司与陈晨融资租赁合同纠纷二审民事判决书》中显示,一审朝阳区人民法院和二审北京市中级人民法院均支持本案中的陈晨解除《融资租赁套系合同》,并且要求凯枫融资公司配合陈晨在央行征信中心产生的不良征信记录。不良征信记录是微众银行在本案中的融资租赁款项中产生并上报央行。

这起纠纷案例显示,2016年7月12日陈晨与荣豪公司签订《购车协议》,购买一款路虎揽胜车型,总价款为576900元,其中首付款为276900元,剩余300000元款项在车辆办理过户及抵押登记手续后由陈晨指定的第三方向荣豪公司支付,收款账户为荣豪公司指定的账户为王占荣的中国工商银行账户。
陈晨在购车同时还与优信旗下的凯枫融资公司签订《融资租赁套系合同》,该合同包含1个附表、8个附录文件和2个附件。这其中包括附录一《融资租赁销售合同》、附录2《融资租赁回租合同》、附录3《车辆抵押合同》、附录4《收据》、附录5《租赁车辆交接单》、附录6《车辆处置条件》、附录7《收车及处置授权书》、附录8《委托扣款授权书》等。
在这一过程中,凯枫融资向陈晨购买其拥有完全产权的路虎,然后再由凯枫融资出租给陈晨使用。按照合同,陈晨所购车辆的所有权为凯枫融资,在其同意下陈晨可将租赁车辆登记在自己名下。值得注意的是,陈晨所欠的30万元购车款,在新的合同下已经由凯枫融资在2016年7月15日转账给王占荣的工商银行账户。



×